IT之家 5 月 30 日消息,微软公司近日公布了一项名为“Intelligent keyboard attachment for mixed reality input”的专利申请,主要介绍了在全息 XR 空间中的一种虚拟键盘智能跟随对象的方法,旨在提升用户佩戴 XR 头显时的输入体验。
这一方法能够让虚拟键盘根据用户的意图智能地并锚定到特定的虚拟对象前方,从而为用户提供可感知的、可预测的自然输入体验。
在传统的 XR 设备中,在用户输入文字期间,虚拟键盘会以固定的角度和距离呈现在用户面前,用户可以通过手柄或者双手拖动这些虚拟键盘,将它们移动到合适的位置,然后再输入文字。然而,有时用户希望虚拟键盘能够根据他们的意图移动,并且能够与特定虚拟对象形成一种类似于物理键盘和屏幕的对应位置关系。
例如在全息桌面办公场景中,用户希望可以在面前显示一个虚拟屏幕,而屏幕下则能够附接虚拟键盘,以便于在同一窗口中同时操作键盘和屏幕。


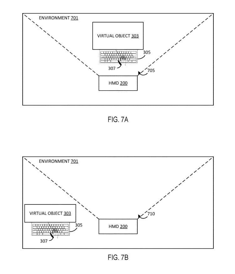
微软的这项专利申请详细描述了智能键盘附接的方法。如图所示,305 代表虚拟键盘,并且可以与虚拟对象 403 所对应的虚拟屏幕进行交互。当虚拟输入设备附接到虚拟对象时,用户无法通过其他交互机制进行输入,例如注视点交互和手指光束指点等输入方式都将被禁用。


专利同时显示,虚拟输入设备可以稳定保持在一个位置坐标中,因此即使用户背过头处理其他事项后回头时,虚拟键盘还会在原来的位置等待用户操作,这种分层定位关系包括距离、方向和角度等锚点参数。
微软认为这种设计可以为用户提供了一致的、可预测的体验,并且具有高度可扩展性及定制性,以令快速响应用户的交互指令,为用户在虚拟环境中的工作和娱乐活动提供更加便捷和高效的输入方式。
该专利申请已于近日在美国专利商标局公开,IT之家认为考虑到微软公司此前已经宣称放弃了“Hololens 3”开发,微软这一专利申请可能作为一项功能在未来集成在下一代 Windows 中,也或表明其正在为未来的下一代 XR 交互硬件铺路。