- 一.产品概述
RY-W-FB001多参数水质监测浮标系统可以实现多种水质参数的同时测量,包括溶解氧、pH、ORP、电导率和浊度等,DT-200主控机通过RS485(Modbus/RTU协议)总线采集处理测量数据,再由无线模块发送到远程服务器,用户可以实时获得监测数据。
该系统以浮标为载体的水质监测系统是化学分析仪器和各种水质传感器的集成,并结合了现代化的数据采集处理技术、数据通信技术、浮标设计及制造技术,是实现环境水质监测自动化、网络化、在线监测的有效技术手段。RY-W-FB001多参数水质监测浮标系统的应用领域广泛,可用在水产养殖、工业生活污水排放、农业灌溉用水、河流湖泊环境监测等领域。
水质浮标轮廓图
水质浮标轮廓图
水质浮标侧图
二.产品优势
● 模块化设计,易于安装和维护,多种参数自由选配;
● 一体化结构,体积小、适合大面积布点;
● 高性能太阳能电池和蓄电池,欠压、过压、过流保护;
● 低功耗设计,可阴雨天长时间连续正常工作;
● 运行周期长、维护量低,能适应多数恶劣环境;
● 可与物联网云平台连接,远程实时监控操作。
三.产品参数
水质浮标硬件参数
水质浮标传感器参数
四.智慧云平台(51云联)
51云联是润越环保科技从物联网理念再到水环境监测领域的具体实践,它将物联网、云计算、大数据及移动互联等互联网的创新成果深入融合到污染源监测、地表水监测及饮用水卫生监测等水环境监测领域中,形成的综合性智能多源感知体系。
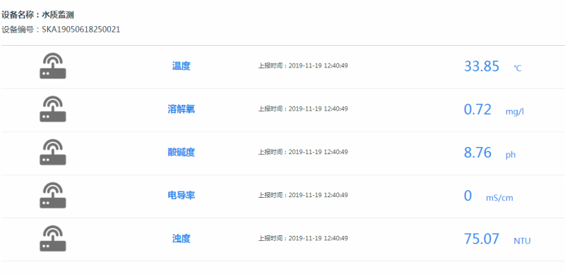
水质浮标实时数据
监测实时数据
五.现场应用实例
现场案例
水质浮标多参数系统解决方案
您觉得本篇内容如何
评分
声明:本文由个人作者撰写,版权归原作者或原出处所有,观点仅代表作者本人,不代表传感器专家网立场。如有侵权或者其他问题,请联系我们,本站拥有对此声明的最终解释权。