鑻规灉涓�鐩村湪鐮旂┒濡備綍灏嗘憚鍍忓ご瀹夎鍒癆ppleWatch涓婏紝鏈�鏂板叕甯冪殑涓�浠戒笓鍒╂樉绀猴紝鑻规灉鑰冭檻杩囨妸鎽勫儚澶磋鍒版墜琛ㄧ殑琛ㄥ啝涓娿��

銆�銆�涓撳埄鏂囦欢鏄剧ず锛�
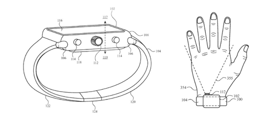
鎵嬭〃鍖呭惈涓�涓彲鏃嬭浆鐨勮〃鍐狅紝渚嬪鐢ㄤ簬鏁板瓧杈撳叆鐨勫彲鏃嬭浆琛ㄥ啝锛岀粍浠朵腑鍙互鍖呭惈涓�涓憚鍍忓ご锛屼互鍏佽閫氳繃璇ョ粍浠舵崟鑾峰浘鍍忋��
闀滃ご鍙互闆嗘垚鍦ㄥ厜鍦堝唴鍜�/鎴栧厜鍦堝悗闈紝浠ヨ仛鐒﹀満鏅浘鍍忋�傝缃湪鍏夊湀鍚庨潰鐨勫浘鍍忎紶鎰熷櫒鍙互杩涗竴姝ラ厤缃负妫�娴嬪埢搴︾洏涓婃爣璁扮殑绉诲姩锛屼互浣垮浘鍍忎紶鎰熷櫒鏃㈠彲浠ョ敤浣滄媿鎽勫満鏅収鐗囩殑鐩告満锛屼篃鍙互鐢ㄤ綔妫�娴嬪埢搴︽棆杞殑浼犳劅鍣ㄦ劅娴嬫棆杞緭鍏ャ��

浠庡浘涓彲浠ョ湅鍒帮紝褰撲僵鎴磋鎵嬭〃鏃讹紝鍒氬ソ鍙互璐寸潃鎵嬭儗杩涜鎷嶇収锛屼篃璁告墜琛ㄧ殑灞忓箷鍙互褰撲綔鍙栨櫙鍣ㄣ��
鎹簡瑙e埌锛岃涓撳埄鐨勪袱浣嶅彂鏄庤�呬箣涓�鏄疶ylerS.Bushnell锛屼粬涔嬪墠灏辩敵璇疯繃鏀硅繘AppleWatch琛ㄥ啝鐨勪笓鍒┿�傞櫎浜嗘満姊拌缃紝琛ㄥ啝鐨勯《閮ㄥ彲浠ュ埗鎴愯Е鎽告劅搴斿尯鍩燂紝杩欐牱鍙兘浼氫负闀滃ご鑵惧嚭绌洪棿銆�