前沿 | 小米新专利支持“边用边充”,智能手表的续航焦虑症有救了

2023-06-27 23:19:44
关注

不得不承认,智能手表的续航确实是个大问题。

作为一个从Fitbit、Pebble一路用到moto 360、Apple watch Ultra的可穿戴设备「老油条」,我用过的几乎每一款智能手表,多多少少都有一些电池续航方面的遗憾。当然了,也有些手表利用大电池实现了以「周」为单位的续航,但相对简单的功能和大电池带来的额外重量,确实对一款定位运动的智能手表带来了一些不便。

不过小米前段时间通过的一项关于智能手表的充电技术专利,似乎就让我们看到了改善可穿戴设备续航问题的曙光。

需要事先说明的是,小米这两项专利都属于实用新型专利而不是发明专利,这意味着这两款专利距离实际产品还有着很长一段距离,但从理念上看,小米这两项专利可能是智能手表「诞生以来最重要的改变」——它把可拆卸电池概念带到了可穿戴设备上。

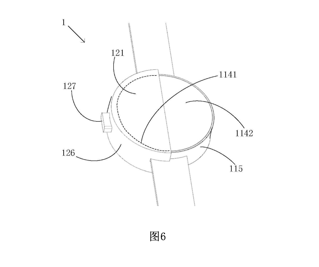
具体来说,小米这项专利是一种可以安装在智能手表等可穿戴设备上的充电器,两者通过磁力吸附的方式固定,并通过触点或无线充电的形式为手表充电。作为参考,这两种充电设备在使用上和Apple推出的MagSafe Battery Pack磁吸充电宝或Smart Battery Case智能充电壳差不多。

图片来源:小米

不过从专利图上看,小米这一套手表充电方案还有不少可以改进的地方,比如无线充电方案的充电器会挡住至少一半的屏幕显示面积,此外无线充电器的方案也会从一定程度上遮盖手表背面的生物传感器。相比之下,采用触点的充电方案可以绕开手表背后的传感器模组,同时也能提供相对较高的充电功率,从技术上更符合我们对智能手表的使用习惯。

那么问题来了,既然我们可以给智能手表安排「充电宝」,那为什么有没有这么一种可能,我们把这个可拆卸的充电宝,集成到手表里面呢?或者说,我们为什么不让智能手表回归到可拆卸电池的时代呢?

“无线充电宝”比可拆卸电池强在哪里?

从产品的角度看,智能手表采用可拆卸电池确实能解决一部分续航和充电的问题。就像电车补能时一样,再快的充电技术也比不过全自动的换电技术一样。智能手表作为可穿戴设备,跟手机有本质上的不同:手机如果边充电边使用,充其量也就发热严重一些、充电速度慢一些而已。

而智能手表「充电与否」完全是两种不同的使用场景:不充电时你可以带着智能手表参加铁人三项,手表不仅可以记录运动数据,同时还可以在手腕上提醒微信消息。但在充电时,智能手表有且只有一个用处——闹钟。

图片来源:雷科技

使用场景上的差异让充电成为了所有智能手表无法绕开的话题:即使你的手表有一个月的超长续航时间,但你依旧需要找一个不用手表的时候给他充电。而且这个充电时间最好不要是睡觉时间,毕竟睡眠追踪已经成为了智能手表的「准入门槛」,几乎所有手表都把睡眠追踪当作运动之外最大卖点。牺牲睡眠时间给手表充电,这无异于「自废武功」。

而改用可拆卸电池方案就不一样了,更换电池的设计可以大幅缩短手表补能的时间,此外更换电池的设计也允许手表使用容量更小的小型电池,将智能手表寸土寸金的内部空间留给其他传感器和运算设备。至于换下来的电池,品牌大可参照TWS耳机的电池盒,为手表推出「外部充电设备」,并像TWS耳机一样用外部电池盒提高手表的综合续航时间。

但问题是在智能手表这样的小型设备中使用可拆卸电池设计,这增加了手表的设计复杂性,可能需要更多的空间和组件,导致手表的尺寸增大或者增加重量。此外,可拆卸电池设计可能导致手表的密封性能变差,因为需要开设一个电池舱门或者连接口来容纳电池。这可能会增加手表对水、灰尘和其他外部元素的敏感度,降低手表的耐久性和防水性能。

相比之下,不破坏手表完整性,同时还能让手表脱离充电底座的「无线充电宝」似乎是更好的方案。

续航焦虑症影响用户“戴表”,厂商们苦寻解药

尽管现阶段小米还没将这两项专利商品化,但从整个智能手表行业的动向来看,手表的「充电宝」似乎已经是智能手表近几年最重要的功能革新了。而这样的「技术断层」往往意味着智能手表对用户的吸引力正在逐年降低。

根据小米发布的海报,小米手环8是「618开门红冠军」,2023年5月31日全天中国区累计出货量达110万只。作为对比,去年的小米手环7全球出货量才突破100万。简单对比不难发现在小米生态中,智能手环的吸引力其实远远超过甚至都不公布销量数据的小米手表,而这种现象在整个可穿戴领域可以说有些反常。

图片来源:卢伟冰

从产品定位来看,智能手环本就是智能穿戴设备中最廉价的品类,例如小米、荣耀等品牌的运动手环,基础款通常不超过300元人民币,甚至不足百元的款式,也能提供基础的运动记录。低廉的售价,注定了这些产品无法做出更大的升级,除了价格之外,手环的核心依然是小巧、便携和长续航,花里胡哨的功能只能被设计师抛诸脑后。

换句话说,在智能手表时代,智能手环从来都是智能手表在成本限制下妥协的产物:它必须在数码产品不断升级的趋势下塞进越来越多的功能,而体积和重量上却存在着局限。显然,化身另一种产品本就不该是某种产品的进步方向,或者说,这样的形态只能支撑这些功能走到这里,如果想要加入更多的功能,就会不得不转换成另一种产品。

功能决定了价格,价格决定了销量

但从销量数据上看,限制了智能手环功能多样性的低售价,恰恰是智能手环销量反超智能手表的关键。

智能手环通常比智能手表价格更为亲民,这使得它们对于预算有限的用户来说更具吸引力。对于那些只需基本功能而不愿支付过高价格的用户来说,智能手环提供了一个经济实惠的选择。

另外,智能手环通常采用简洁、轻便的设计,以及柔软的材质,使得佩戴更加舒适。相比之下,智能手表可能更大、更重,对于那些更注重佩戴舒适性的用户来说,智能手环可能更受欢迎。

图片来源:Veer

续航时间也是手环超越手表的重要因素之一,智能手环通常采用低功耗设计,使其电池寿命较长。这意味着用户可以在不频繁充电的情况下持续使用手环,提供更便捷的使用体验。特别是对于那些不想经常充电或在户外活动中使用手环的用户来说,智能手环更具吸引力。

换句话说,当智能手表不能用更丰富的功能支撑其高昂的售价时,用户自然会选择功能类似但价格更便宜的智能手环。但就像我们刚刚说过的那样,停滞不前的电池技术从源头限制了智能手表功能多样性的探索。也就是说,电池是智能手表功能升级的关键,而功能升级也是智能手表在销量上反超智能手环的必要条件。

而小米专利中提到的智能手表「充电宝」,很有可能是当前智能手表绕开电池技术限制的最好机会。再说就连Apple Vision Pro都开始使用外置电池的方案了,用充电器给智能手表「打吊针」又有何不可呢?

您觉得本篇内容如何
评分

评论

您需要登录才可以回复|注册

提交评论

广告
提取码
复制提取码
点击跳转至百度网盘