产品详情
描述:
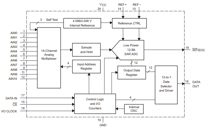
TLV2556 器件是一款 12 位开关电容器逐次逼近型模数转换器 (ADC)。ADC 具有三个控制输入:片选 ( CS )、输入输出时钟以及地址和控制输入 (DATAIN)。这些输入通过串行三态输出与主机处理器或外围设备的串行端口通信。
除了高速转换器和多功能控制能力外,该器件还有一个片上 14 通道多路复用器,可以使用配置寄存器 1 选择 11 个输入中的任意一个或三个内部自测电压中的任意一个。采样-保持功能是自动的。在转换结束时,当编程为 EOC 时,引脚 19 输出变为高电平以指示转换完成。如果引脚 19 被编程为INT,当转换完成时信号变低。该器件中包含的AD5200BRMZ10转换器具有差分、高阻抗参考输入,有助于比率转换、缩放以及模拟电路与逻辑和电源噪声的隔离。开关电容器设计可在整个工作温度范围内实现低误差转换。内部基准可用,其电压电平可通过配置寄存器 2 (CFGR2) 编程。
TLV2556 的工作温度范围为 T A = –40°C 至 +85°C。
特性:
●12 位分辨率模数转换器(ADC)
●在 12 位输出模式下,整个工作温度范围内的吞吐量高达 200kSPS(3V 时为 150kSPS)
●11 个模拟输入通道
●三种内置自检模式
●固有采样保持功能
●可编程参考源(2.048 / 4.096 V内部或外部)
●固有采样保持功能
●±1 LSB 的线性误差(最大值)
●片上转换时钟
●可编程转换状态输出:INT或 EOC
●单极或双极输出操作
●可编程最高有效位 (MSB) 或最低有效位 (LSB) 在前
●可编程掉电
●可编程输出数据长度
●I/O 时钟频率高达 15 MHz 的SPI 兼容串行接口(CPOL = 0,CPHA = 0)
应用:
●工业过程控制
●便携式数据记录
●电池供电仪器
●汽车
参数:
分辨率(位):12
输入通道数:11
采样率(最大)(kSPS):200
接口类型:接口接口
建筑学:特区
输入类型:单端
多通道配置:复用
参考模式:外部、内部
输入电压范围(最大值)(V):5.5
输入电压范围 (Min) (V):0
特征:振荡器
工作温度范围(℃):-40 至 85
功耗(典型值)(mW):2.43
模拟电压 AVDD (Min) (V):2.7
信噪比(分贝):69.5
模拟电压 AVDD(最大值)(V):5.5
INL(最大)(+/-LSB):1
数字电源(最小值)(V):2.7
数字电源(最大值)(V):5.5
