可燃有害气体报警器的探测器安装方式有抱管安装、墙壁安装、支架固定安装等方式。探测器的具体安装位置是由气体的比重决定的,具体安装方案如下:
1、当被检测气体密度比重大于空气比重时,气体探测器应安装在距离地面(30~60)cm处,且传感器部位向下。
2、当被检测气体密度比重小于空气比重时,气体探测器应安装在距离顶棚(30~60)cm处,且传感器部位向下。
可燃有害气体报警器探头的安装位置是根据GB50493-2009《石油化工可燃气体检测报警设计规范》相关规定依据检测气体密度及风向确定探测器安装位置应避免探测器安装空气流。
一般情况面积适室内空间依据保护半径均匀布点即探测器安装离释放源距离7.5m内或两探测器水平距离15m内;面积或存量通风部位室内空间应按室外情况布置探测器探测器安装室外应布置燃气体释放源全频率风向风侧与释放源距离宜于15m;探测器布置燃气体释放源全频率风向风侧与释放源距离宜于5m。
检测比空气重气体探测器安装高度应距面0.3~0.6m;检测比空气轻气体探测器安装高度宜高释放源0.5~2m说明:气体密度于0.97kg/m3(标准状态)即认比空气重气体密度于0.97kg/m3(标准状态)即认比空气轻。
气体探测器应安装在气体易泄漏场所具体位置应根据被检测气体相对于空气的比重决定,当被检测气体密度比重大于空气比重时气体探测器应安装在距离地面(30-60)CM处,且传感器部位向下。 当被检测气体密度比重小于空气比重时气体探测器应安装在距离顶棚(30-60)CM处且传感器部位向下,探测器安装时应使传感器朝下固定,正确连线后应固定好探测器外盖 以达到防爆要求。
一.产品介绍
1. 产品概述
SKA/NE-301体报警器采用智能化EC传感器,本质安全技术,可支持多气体、多量程检测,我司可根据用户需求提供定制化产品,数字化模组设计,现场更换时无需校零、标定即可使用。该报警器可安装在室内、室外的危险场合,当空气中有被测气体时,检测仪即输出与气体浓度成正比的电信号,此电信号也可以通过无线方式传输到DCS或其他二次仪表以供信息的集中监控。
本安型电路设计,配备全铝合金防爆外壳,安全可靠具有信号稳定,精度高、重复性好等优点,防爆接线方式适用于各种危险场所。仪器兼容各种控制报警器、PLC、DCS 等控制系统,可以实现远程监视,远程控制,远程报警,计算机 数据存储、分析等功能。(湖南圣凯安小张133..9..7..3..3..5.8..0..6..)
2. 功能优势
• 现场气体浓度液晶显示;
• 高精度、长寿命的电化学、红外进口传感器;
• 强大的软件设置支持,满足客户 1.0000-99999 之间的任意量程和所有气体检 测需求; 产品多图-气体报警器01.png
• 可通过控制器或遥控器,免开盖对探测器进行报警点调整、零点调整和目标点 标定;
• 适用于几十种气体检测,可选择显示几十种常见气体名称;
• 气体单位名称 PPM、%LEL、%VOL,可任意设定;
• 程序运算采用了三位浮点数技术,保证了运算的精度;
• 在全量程范围内任意设置上、下限报警点;
• RS485 总线通讯,布线简单方便;
• 4~20mA 电流输出信号,可校正、全隔离,产品抗力强;
• 2 组常开无源触点输出,用于控制风机或电磁阀的交流接触器;
• 精巧的电源设计、的防雷设计、纯 SMT 元件贴片工艺,使得产品性能稳定;
• 巧妙的结构设计,探测器接线免上螺丝,安装简便。
3. 技术参数
产品型号
SKA/NE-301
检测原理
电化学、半导体、红外、PID 光离子原理
检测范围
视检测气体而定
分辨率
视检测气体而定
检测方式
扩散式、泵吸式可选
显示方式
液晶显示
输出信号
用户可根据实际要求而定,最远可传输2000米(单芯1mm² 屏蔽电缆)
①两线制4-20mA 电流信号输出(三线制可选)
②RS-485数字信号输出,配合 RS232转接卡可在电脑上存储数据(选配)
③2组继电器输出:无源触电容量220VAC 3A,24VDC 3A(选配)
④报警信号输出:现场声光报警,报警声音:<90分贝(选配)
检测精度
≤±2%(F.S)
重复性
≤±1%
零点漂移
≤±1%(F.S/年)
报警方式
声、光报警
响应时间
小于20S
恢复时间
小于20S
防爆类型
本质安全型
防爆标志
Ex ibdIICT4
防护等级
IP65
直接读数
PPM、%LEL、%VOL 任意设定
传感器寿命
24个月
使用环境
温度-20℃~+70℃;相对湿度≤95%RH(非凝露)
工作电源
24VDC(正常工作电压范围:10~30VDC)
外型尺寸(含探枪长度)
170×140×80mm
重 量
1.5Kg
壳体材料
不锈钢/铝合金
4. 产品尺寸
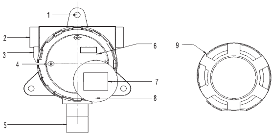
二.部件说明
序号
部件说明
1
安装固定孔
2
穿线孔
3
接地螺丝
4
螺丝柱
5
传感器
6
电路板
7
液晶显示屏
8
显示面板
9
上壳
三.遥控器说明

图标
说明
消音
撤销、返回
确认
位置选择
位置选择
数值增加
数值减小
四.操作说明
1. 遥控操作
参数设置
密码
操作步骤
“低报”
“111”
按“功能”键 》》 输入密码 - - - - 》》 按“ok”键 … … 按下“低报”键 》》 “▼”、“▲”调整低报值 … …
按“ok”键,数据存储并退出!
按“”键,自动退出,数据不存储 !
“高报”
“111”
按“功能”键 》》 输入密码 - - - - 》》 按“ok”键 … … 按下“高报”键 》》 “▼”、“▲”调整高报值 … …
按“ok”键,数据存储并退出!
按“”键,自动退出,数据不存储 !
“量程”
“111”
按“功能”键 》》 输入密码 - - - - 》》 按“ok”键 … … 按下“量程”键 》》 “▼”、“▲”调整量程值 … …
按“ok”键,数据存储并退出!
按“”键,自动退出,数据不存储 !
“校零”
“标定”
“111”
按“功能”键 》》 输入密码 - - - - 》》 按“ok”键 … …
校零:(探测器校零)
按下“校零”键,显示值为 “零点数值” 》》 数值稳定后按下“ok” 键!
标定:(气体标定)
按下“标定”键,显示数值 》》 通入标气 》》 数值稳定后
按“▼”、“▲”,调整数值等于标气数值,完成后按下“ok”
键, 数据存储并退出,关闭气源!
电流微调
“420”
4mA 电流微调(零点电流):
按“功能”键 》》 输入密码 - - - - 》》 按“ok”键 … … 按下“校零”键 》》 “▼”、“▲”调整电流值 … …
按“ok”键,数据存储并退出!
按“”键,自动退出,数据不存储 ! 20mA 电流微调(满
量程电流):
按“功能”键 》》 输入密码 - - - - 》》 按“ok”键 … …
按下“标定”键 》》 “▼”、“▲”调整电流值… … 按“ok”键,数据存储并退出!
按“”键,自动退出,数据不存储 !
2. 按键操作
参数设置
操作步骤
“校零”
“标定” 电流
微调
按住主板“设置”键,工作灯闪烁 3 下后,常亮后松开“设置”
键 》》 调零灯常亮,按“▼”或“▲”,将当前状态数值校零。
再按“设置”键》》 标定灯常亮,通入标气 》》 数值稳定后按
“▼”、“▲”,调整数值等于标气数值,完成后按下“设置”键,数
据存储,并关闭气源! 》》 工作灯与调零灯常亮,进入 4mA 电
流微调,按“▼”、“▲”,调整数值,完成后按下“设置”键 》》工作灯与标定灯常亮,进入 20mA 电流微调,按“▼”、“▲”, 调整数值,完成后按下“设置”键数据存储并退出!
五.产品安装
1. 安装位置
把探测器安装在可能有气体泄漏的区域中,探测器安装必须牢固。探测器安装高度宜高出释放源(0.5~2)m 处。为了正确使用探测器并防止其故障的发生,请不要安装在以下位置:
● 直接受蒸汽、油烟影响的地方;
● 给气口、换气扇、房门等风量流动大的地方;
● 水汽、水滴多的地方;
● 温度在—40℃以下或 70℃以上的地方;
● 有强电磁场的地方。
2. 安装方法
把探测器用 3 个 M6 膨胀螺栓固定在墙壁上,探测器接地螺丝应可靠接地。
3. 布线
● 探测器和控制器之间用三芯屏蔽电缆线连接,三芯屏蔽电缆线的线径大小由传输距离决定,传输距离和线径要求,具体见下表:
线径(mm2)
传送距离 (m)
0.30
200
0.50
300
1.00
700
1.50
1000
2.00
1200
● 在检测现场,探测器传输电缆应装保护钢管或 PVC 管,与探测器连接处加金属软管。在信号传输线路上,电缆间的连接必须牢固可靠。
● 应用三芯屏蔽线,走线要平直、规整,线卡牢固、均匀。
4. 接线
打开探测器盖,将电缆前端剥皮 50mm 后,穿入探壳内,线芯依次排开,根据实测截取多余的长度,剥线长度 10mm。拔下接插件,用Φ3 的小型螺丝刀,将拨好的导线依次固定到接插件内。
接线顺序:V 正极、S 信号(黄线)、G 负极、机壳地(电缆的屏蔽网)依次接控制器的 V(24V)、S(信号)、G(GND)、大地(屏蔽)接线端子,接线一定要正确。接好线后用防爆胶泥将电缆线出口密封,紧固好机壳。
5. 接线端子按键说明
六.维护与保养
● 保持探测器表面清洁,以免堵塞,影响使用。
● 经常检查探测器有无意外进水,以免检测元件浸水,影响其性能。
● 请不要用大量可燃气体直冲探测器。
● 用户和非专业人员不许随意拆卸该仪器。
● 仪器出现故障,用户不便修理时,请将整机送回我公司修理或及时通知我公司派专业人员检修。
● 本仪器保修一年,终生服务。
七.故障排除
打开探测器上盖后首先确认供电电压是否正常,然后参考下列现象相应处理:
表1
故障现象
原因分析
排除方法
“E1”
传感器故障
1.传感器接插件重新连接
2.更换传感器
---
超量程
所测气体超过设定量程到期更换
传感器。
表2
故障现象
可能原因
处理措施
显示不归零
粉末冶金罩堵塞,内部有残留气体
取下冶金罩, 彻底清理
传感器老化产生漂移
重新调零
冲标准气,显示值偏低,响应时间过长
粉末冶金罩堵塞
清理粉末治金罩,确保其透气性良好
充气不反应
传感器老化
更换传感器
电压太低
检查控制器电源
如遇到排除不去的故障,请将整机送回我公司修理或及时通知我公司派专业 人员检修
八. 售后服务承诺
1. 我公司生产的产品,质保期为自出厂之日起一年(人为因素和不可抗拒力除外)。
2. 保修期内的产品可应客户要求,返厂免费为客户进行一次气体标定和维护,我公司不承担产品往返运费。
3. 超出质保期的产品,公司只收取维修成本费。
4. 公司为客户提供7×24小时的专业服务,公司在接到客户通知后4小时内作出反应,24小时内做出具体解决方案。
5. 一般情况下传感器的正常使用寿命为:催化燃烧式传感器为2年,电化学式传感器为1年。传感器的实际使用寿命与工作环境有直接的关系,使用环境不同 ,传感器的寿命会发生变化。