财联社|新消费日报10月12日讯(研究员 梁又匀),近日,有投资人王闻超爆料称,自己曾参与韩寒投资的连锁餐饮品牌“很高兴遇见你”,但却最终失败倒闭。为了挽回名誉、填补餐厅亏损,韩寒在该餐厅创业中的亏损或已超亿元。
王闻超表示,出于对韩寒的信任和餐厅优秀的人气数据表现,在“很高兴遇见你”门店筹备之初其目标曾定位IPO,然而餐厅经营不善,自己亏损达到千万也选择了退出。
近些年来,从韩寒、赵薇、郭德纲、周杰伦,再到薛之谦、陈赫、黄晓明、胡海泉等众多观众熟悉的明星都曾试水餐饮创业,但最终结果都不甚理想。不少餐饮门店在运营不善草草收场后,同时还为明星引来了食品安全问题、管理纠纷、税务等多个负面舆论,反而损害了明星形象。
韩寒创意菜餐厅亏损内幕
同时,王闻超进一步透露,项目失败背后是韩寒对待餐厅创业态度属于“玩票”试水,对于餐厅的长久运营缺乏基本的考量,店内创意菜品“本末倒置”,只顾造型而忽视口味,名气大却难吃,即便后期想要改进也无力挽回。
资料显示,创意菜餐厅“很高兴遇见你”于2014年1月在上海开业,自称“魔都最文艺的餐厅”。在韩寒个人名气的号召下,不少文艺青年、城市白领慕名前往消费打卡。巅峰时期餐厅排队等位时间一度超8小时,每天曾有上千人排号等位。

2015年至2016年间,“很高兴遇见你”门店陆续扩展至苏州、杭州、武汉、成都、北京、广州等一线城市,全国门店一度超60家。然而自2016年起,关于“很高兴遇见你”的食品卫生、经营加盟混乱等负面新闻不断曝出。店铺评价中,关于餐厅菜品性价比不高、难吃、不考虑顾客用餐体验等负面评价也层出不穷。
2017年,“很高兴遇见你”加盟门店陆续倒闭、拖欠员工工资、被起诉等,让韩寒也成为舆论指责的对象。2018年之后,该餐厅彻底淡出公众视野。
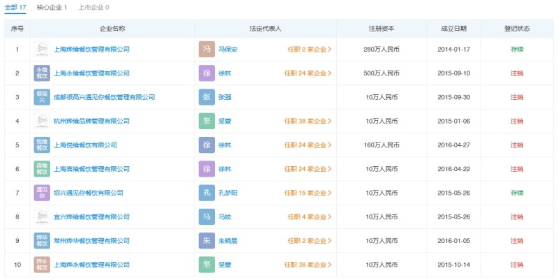
天眼查信息显示,“很高兴遇见你”相关公司共有17家,大部分成立于2014至2016年间,目前多数已注销。餐厅的实际运营方上海烨飨餐饮管理有限公司也在股权几度易手的同时,注销了旗下大部分餐饮子公司。

不论是从历史信息还是当前股权结构上,韩寒都并未直接参投相关门店或管理公司。而在其旗下的子公司上海有树文化传播有限公司,韩寒曾注册有多个“很高兴遇见你”商标,涉及服装鞋帽、厨房洁具、皮革皮具等。
实际参与餐厅运营的股东及实际管理者多为韩寒的投资合作伙伴。新消费日报发现,部分曾参与餐厅投资管理的商业合作伙伴,另与韩寒合资成立的多家文化影视公司目前仍正常营业。
甩开餐厅创业的“烂摊子”后,韩寒不再涉足其他不熟悉的领域,而是回归擅长的电影、文化娱乐领域。2015年成立的亭东影业近年顺利投出了《飞驰人生》《乘风破浪》《四海》等韩寒参与制作的影片,以及《扬名立万》《人生路不熟》《长空之王》等票房表现优秀的影片,投资回报可观。
明星餐饮除了热闹还有啥?
此前曾有调查显示,明星创业开店首选餐饮,其次为酒吧、服饰品牌。影视娱乐明星借助自身的名气往往能快速打开市场,吸引粉丝群体、好奇路人前来一试。
其中,陈赫、朱桢、叶一茜参与投资的“贤合庄”就曾在快速扩张后,因经营管理不到位,频繁出现食品安全、服务质量低、加盟商纠纷的问题。在成立之初,陈赫还曾立志于将贤合庄打造为“中国明星火锅第一品牌”,但最终也只能默默退出持股,不再为品牌发声。
胡海泉参股成立的“本宫的茶”更是因加盟扩张效果不佳,管理不到位,出现了偷税问题。尽管公司欠债和税务并不会直接影响明星本人,但仍对胡海泉的名誉造成了负面影响,其本人多次因此登上社交媒体热搜榜。
杜海涛、包贝尔跨界参投的餐厅甚至出现了严重的食品卫生问题,对消费者身心和明星名誉均造成了不良影响,成为公众热议话题。
汪小菲成立的麻六记已从线下餐厅发展为全渠道速食面零售品牌,并借助自身的明星传播效应取得了不错的线上销量。但此前其北京门店也曾被查出存在油烟排放超标、采购原料不符合食品安全标准等问题。
国内庞大的消费群体带来了巨大的消费潜力,相较于其他业态,餐饮创业成本低、上手快、传播效果好。但随着餐厅经营进入正轨,更多的经历投入、更完善的管理设计是餐饮品牌得以稳定发展壮大的重要因素。
然而不论初衷和定位如何,明星们往往很难放弃影视娱乐的主业,全身心投入餐饮门店运营,最终沦为“挂名老板”。且由于合伙运营者同样不够成熟,缺乏餐饮运营经验,后期门店成本投入减少和采购管理强度不足,往往成为拖垮品牌的重要原因。
据窄门餐眼显示,与陈赫等明星完成“切割”的贤合庄全国门店总数,已从巅峰时期近550家门店收缩至目前的约140家,且多数门店已撤出北上广的一线重要城市,开始将门店布局到三四线乃至五线城市等下沉市场。
失去了明星光环的“贤合庄”品牌仍在慢慢推进加盟、新增门店,但影响力和关注度已大不如前。