产品详情
描述:
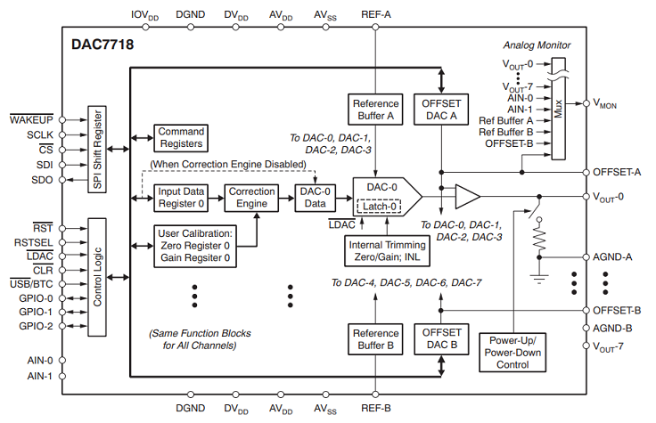
DAC7718是一种低功率,八分位数的数字到Analog转换器(DAC)。使用5V参考,从双±15.5V(或更高)电源运行时,输出可以是双极±15V电压,或者从 +30.5V(或更高)电源运行时单极0V至 +30V电压。使用5.5V参考,从双±17V(或更高)电源运行时,输出可以是双极±16.5V电压,或者从A +33.5V(或更高)电源运行时单极0V至 +33V电压供应。该DAC在–40°C至 +105°C的指定温度范围内提供低功率操作,良好的线性和低故障。该设备在制造中进行了修剪,并具有非常低的零代码和增益误差。另外,可以在整个信号链上执行系统级校准。可以使用DAC偏移寄存器来抵消输出范围。
DAC7718具有标准的高速串行外围界面(SPI),可与DSP或ADS7808U微处理器进行通信,以高达50MHz的操作,为1.8V,3V和5V逻辑。设备的输入数据是双缓冲的。异步负载输入(LDAC)将数据从DAC数据寄存器传输到DAC闩锁。异步CLR输入将所有八个DAC的输出设置为agnd。 VMON引脚是一个监视器输出,可连接到单个模拟输出,偏移DAC,参考缓冲区输出和两个通过多路复用器(MUX)的两个外部输入。
DAC7718是针对针,与DAC8718(16位)和DAC8218(14位)的功能兼容。
特性:
●双极输出:±2V至±16.5V
●单极输出:0V至 +33V
●12位分辨率
●低功率:14.4MW/CH(双极电源)
●相对准确性:1 LSB最大
●低零/全尺度错误:±1 LSB最大
●灵活的系统校准
●低故障:4NV-S
●定居时间:15μs
●通道监视器输出
●可编程增益:x4/x6
●可编程偏移
●SPI:最多50MHz,1.8V/3V/5V逻辑
●施密特触发输入
●带有睡眠模式增强的雏菊链
应用:
●自动测试设备
●PLC和工业过程控制
●通信
参数:
分辨率(位):12
DAC频道的数量(#):8
接口类型:SPI
输出类型:缓冲电压
定居时间(μs):15
功能:芯片偏移并获得校准,SDO
参考类型:Ext
体系结构:字符串
输出范围(最大)(ma/v):33
输出范围(min)(ma/v):-16.5
工作温度范围(C):-40至85
