CMOS 图像传感器的电源布局会显著影响分辨率、帧率等性能。本文讨论针对此应用设计电源方案时的重要考量。
CMOS 图像传感器的内部结构
典型的 CMOS 成像系统包含有源像素颜色阵列、模拟信号处理电路、模数转换器和用于控制接口、时序和数据读取的数字部分。阵列的填充因数是感光部分相对于传感器总尺寸的百分比。光电探测器是一种光敏传感器,用于捕获可见光子并将其转换为电流(毫微微安级)。分辨率用于量化 CMOS 图像传感器中的总像素阵列数,例如,200 万像素传感器阵列是 1600 列和 1200 行。但是,阵列中的像素并非都是有源的(可用于光检测),其中有些(在光学上是黑色的)像素用于黑电平和噪声校正。

图 1:典型的 CMOS 图像传感器模块
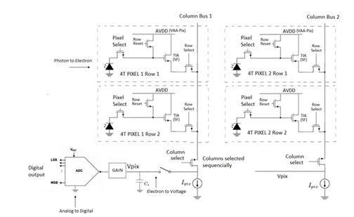
现有多种不同的像素晶体管设计,包括三晶体管 (3T)、四晶体管 (4T) 和五晶体管 (5T) 版本。在 4T 布局中,光电二极管将接收到的可见光子转换为电荷。每个电压一次读取一行并放入柱状电容器 (C) 中。然后使用解码器和多路复用器进行读取。

图 2:四晶体管像素设计
帧率用于量化图像处理阵列捕捉完整图像的速度,一般为 30-120 fps。帧率受快门速度影响,后者控制图像传感器收集光线的时间。可编程时间间隔,也称为“暗期”,在读取最后一行之后执行其他任务时,此间隔也会影响帧率,约为读取速率的 75%。帧是按顺序逐行读取的;最后,缓冲器将整个帧存储为完整图像。
电源设计考量
CMOS 图像传感器一般使用三个不同的供电轨,分别是模拟供电轨 (2.8 V AVDD)、接口供电轨(1.8 或 2.8 V DOVDD)和数字供电轨(1.2 或 1.8 V DVDD)。低压降 (LDO) 稳压器的输入引脚上有一个大旁路电容,可以稳定电源,帮助减少电压波动,从而改善图像传感器的噪声性能。电源抑制比 (PSRR) 衡量 LDO 抑制电源纹波引起的输入电压变化,或者阻断由其他开关稳压器导致的噪声的能力。具有低 PSRR 的 LDO 可能导致捕获的图像中出现不必要的水平纹波。在针对此应用设计具有足够高 PSRR 的 LDO 之前,可计算给定帧率所需的传感器行频。

图 3:正在进行稳压的 LDO
LDO 内部的反馈环路基本决定了工作频率低于 100 kHz 的系统的 PSRR。对于更高频率(高于 100 kHz)应用,仍取决于无源组件和 PCB 布局。因此,谨慎的 PCB 设计可以实现紧凑的电流环路,并降低寄生电感。普通 LDO 在高频率下 PSRR 较低。虽然这对标准摄像头来说不是问题,但更高分辨率 (50−200 MP) 和高帧率的图像传感器要求 LDO 在更低频率(最高 10 kHz)下的 PSRR 高于 90 dB,在更高频率 (1−3 MHz) 下高于 45 dB。
设计技巧
帧率 (30−120 fps) 和行速率 (22−44 kHz) 会产生动态负载,在模拟供电轨上引起下冲和过冲。在每次帧或行转换时,获取的电流类似于阶跃负载,意味着在每次读取帧和行(或之间)时,LDO 必须能够处理数百毫安级的负载变化。大容量电容(在行和帧频率下具有低阻抗)可以帮助摄像头去耦,以减少这种负载切换引起的纹波。
图像传感器的每个像素都有电荷饱和水平(或最大阱容),这是在达到饱和之前像素能留存的电荷量(以电子为单位)。图像传感器的动态范围(以 dB 表示)是能同时捕获的图像最亮和最暗部分的比率。LDO 输出端的低频谱噪声密度(在 10 Hz 至 1 Mhz 之间)也有助于减少传输至 CMOS 图像传感器的噪声量,使像素实现更大的动态范围。最后,总体纹波和噪声应至少低于传感器的噪声阈值 40 dB,在数据手册中通常表示为信噪比 (SNR)。